Hyundai Santa Fe: CVVT & Camshaft. Description and Operation - Cylinder Head Assembly - Engine Mechanical SystemHyundai Santa Fe: CVVT & Camshaft. Description and Operation

Description

Continuous Variable Valve Timing (CVVT) system advances or retards the valve timing of the intake and exhaust valve in accordance with the ECM control signal which is calculated by the engine speed and load.
By controlling CVVT, the valve over-lap or under-lap occurs, which makes better fuel economy and reduces exhaust gases (NOx, HC) and improves engine performance through reduction of pumping loss, internal EGR effect, improvement of combustion stability, improvement of volumetric efficiency, and increase of expansion work.
This system consist of
-
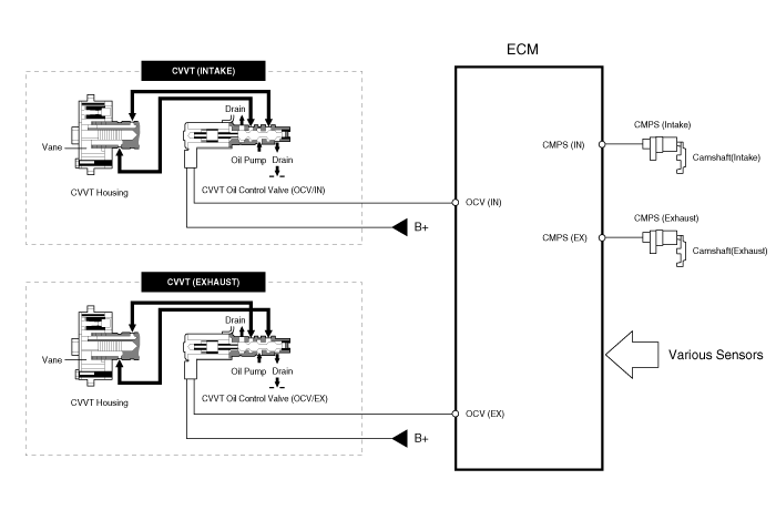
the CVVT Oil Control Valve (OCV) which supplies the engine oil to the cam phaser or runs out the engine oil from the cam phaser in accordance with the ECM PWM (Pulse With Modulation) control signal,
-
the CVVT Oil Temperature Sensor (OTS) which measures the engine oil temperature,
-
and the Cam Phaser which varies the cam phase by using the hydraulic force of the engine oil.
The engine oil getting out of the CVVT oil control valve varies the cam phase in the direction (Intake Advance/Exhaust Retard) or opposite direction (Intake Retard/Exhaust Advance) of the engine rotation by rotating the rotor connected with the camshaft inside the cam phaser.


Operation Principle

The CVVT has the mechanism rotating the rotor vane with hydraulic force generated by the engine oil supplied to the advance or retard chamber in accordance with the CVVT oil control valve control.

[CVVT System Mode]

[CVVT System Mode]

(1) Low Speed / Low Load
(2) Part Load


(3) Low Speed / High Load
(4) High Speed / High Load



Driving
Condition
Exhaust Valve
Intake Valve
Valve
Timing
Effect
Valve
Timing
Effect
(1) Low Speed
/Low Load
Completely
Advance
* Valve Under-lap
* Improvement of combustion stability
Completely
Retard
* Valve Under-lap
* Improvement of combustion stability
(2) Part Load
Retard
* Increase of expansion work
* Reduction of pumping loss
* Reduction of HC
Retard
* Reduction of pumping loss
(3) Low Speed
/High Load
Retard
* Increase of expansion work
Advance
* Prevention of intake back flow (Improvement of volumetric efficiency)
(4) High Speed
/High Load
Advance
* Reduction of pumping loss
Retard
* Improvement of volumetric efficiency


CVVT & Camshaft. Components and Components Location
Components 1. Camshaft bearing cap 2. Camshaft front bearing cap 3. Exhaust camshaft 4. Intake camshaft 5. Exhaust CVVT assembly 6. Intake CVVT assembly 7. Exhaust camshaft upper bearing 8. Intake camshaft ...

CVVT & Camshaft. Repair procedures
Removal 1. Remove the cylinder head cover. 2. Set No.1 cylinder to TDC/compression. A. Turn the crankshaft pulley and align its groove with the timing mark "T" of the lower timing chain cover. ...

See also:

If engine doesn't turn over or turns over slowly
1. If your vehicle has an automatic transaxle, be sure the shift lever is in N (Neutral) or P (Park) and the emergency brake is set. 2. Check the battery connections to be sure they are clean and tight. ...

Hazard warning flasher
Type A Type B The hazard warning flasher should be used whenever you find it necessary to stop the car in a hazardous location. When you must make such an emergency stop, always pull off the road as far ...

Torque Converter Control Solenoid Valve (T/CON_VFS). Description and Operation
Description Torque converter control solenoid valve (T/CON) is attached to the valve body. This variable force solenoid valve directly controls the hydraulic pressure inside the torque converter. ...