Hyundai Santa Fe: TPMS Receiver. Schematic Diagrams
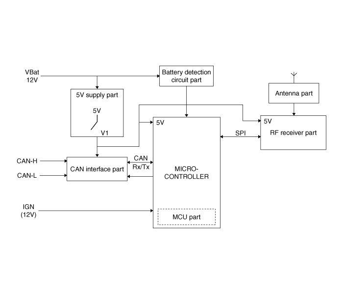
System Circuit Diagram

|
No |
Function |
|
1 |
MCU part |
|
2 |
CAN interface part |
|
3 |
5V supply part |
|
4 |
Battery detection circuit part |
|
5 |
RF receiver part |
|
6 |
Antenna part |
TPMS Receiver. Description and Operation
Description It search automatically sensor location and learn the new sensor. To check defect of system or vehicle, use the sensor information, distance, indistinct noise, automatic learning status, vehicle ...
TPMS Receiver. Repair procedures
Adjustment 1. Disconnect the negative (-) battery cable. 2. Remove the glove box housing. 3. Disconnect the connector. 4. Remove the bracket (B) and receiver (C) as loosen the nut (A-1ea). Tightening torque ...
See also:
Special Service Tools
Special Service Tools Tool(Number and Name) Illustration Use 09495-33000 Puller Removal of spider assembly from a drive shaft. 09568-4A000 Ball joint puller Remove the ball joint 09495-3K000 Band installer ...
Starter. Repair procedures
Removal 1. Disconnect the battery negative terminal. 2. Remove the air duct and air cleaner assembly. <a href="content.asp?vehicletype=Passenger&mfrcode=HY&area=HMA&langcode=ENG&modelid=AN13&modelyr=2013&mmctype=en&mmcid=98&group=SHOP&pdftype=&cat1=2013+%3E+G+2%2E4+GDI&ec=&nLocation=2$8_4_8_1&firstnodedesc=Engine+Mechanical+System&sitinfolist=12%5E1235%5E12350100%5Enone%5E801%5E1%5EENG%5EHY%5EAN13%5E2013%5Een%5E98%5Enone%5Enone%5Enone%5ESHOP%5E%24" ...
MAX A/C-Level (B, D)
To operate the MAX A/C, turn the fan speed control knob to the right to maximum fan speed, then press the MAX A/C button. Air flow is directed toward the upper body and face. In this mode, the air conditioning, ...
