Hyundai Santa Fe: Dynamic Damper. Repair procedures
Removal
| 1. |
Remove the front driveshaft.
|
| 2. |
Remove the TJ joint assembly.
|
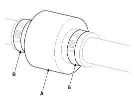
| 3. |
Remove the remove the both side of band (B) of the dynamic damper
(A).
|
| 4. |
Fix the driveshaft (A) with a vice (B) as illustrated.
|
| 5. |
Apply soap powder on the shaft to prevent being damaged between
the shaft spline and the dynamic damper when the dynamic damper is removed.
|
| 6. |
Seperate the dynamic damper (A) from the shaft (B) carefully.
|
Installation
| 1. |
Apply soap powder on the shaft to prevent being damaged between
the shaft spline and the dynamic damper.
|
| 2. |
Install the dynamic damper.
|
| 3. |
Install the dynamic damper band (A).
|
| 4. |
Using the SST(09495-3K000), secure the TJ boot bands (B).
|
| 5. |
Install the TJ joint assembly.
|
| 6. |
Install the front driveshaft.
|
| 7. |
Check the front alignment.
|
Dynamic Damper. Components and Components Location
Components 1. BJ assembly 2. BJ circlip 3. BJ boot band 4. BJ boot 5. Dynamic damper band 6. Dynamic damper 7. Shaft 8. TJ boot band 9. TJ boot 10. Spider assembly 11. Retainer ring 12. TJ housing 13. ...
BJ Boot. Components and Components Location
Components 1. BJ assembly 2. BJ circlip 3. BJ boot band 4. BJ boot 5. Dynamic damper band 6. Dynamic damper 7. Shaft 8. TJ boot band 9. TJ boot 10. Spider assembly 11. Retainer ring 12. TJ housing 13. ...
See also:
Troubleshooting
Troubleshooting Problem Possible cause Solution Not pairing Bluetooth device of Car is not discoverable mode Enter Bluetooth pairing (searching) mode User’s phone is Bluetooth off mode User’s phone ...
Cylinder Head. Repair procedures
Removal • Use fender covers to avoid damaging painted surfaces. • To avoid damaging the cylinder head, wait until the engine coolant temperature drops below normal temperature before removing it. • ...
Description and Operation
Description Exhaust emissions (CO, HC, NOx) are controlled by a combination of engine modifications and the addition of special control components. Modifications to the combustion chamber, intake manifold, ...




