Hyundai Santa Fe: Power Seat Control Switch. Schematic
Diagrams
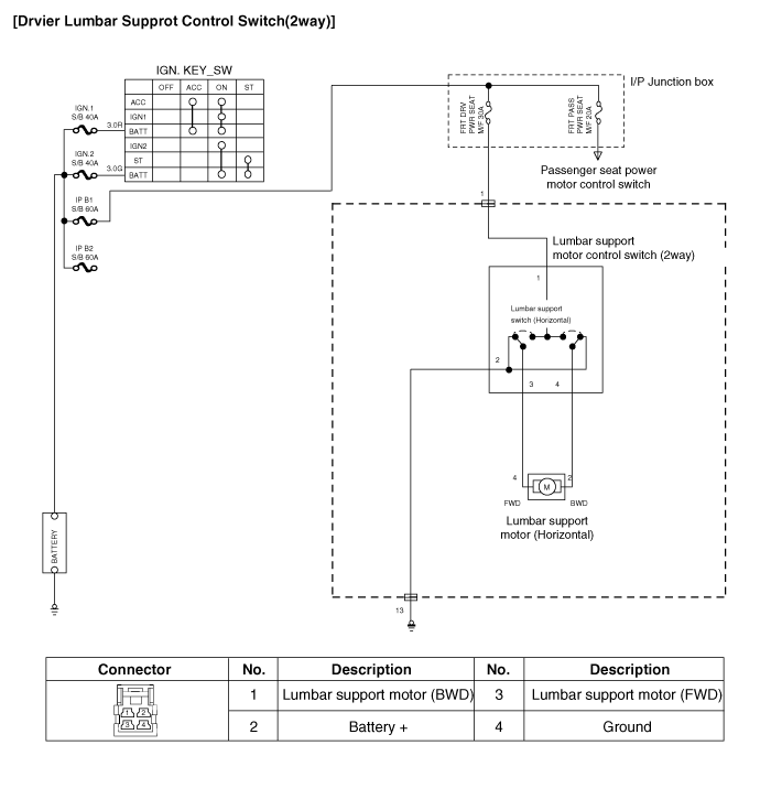
Circuit Diagram




Power Seat Motor. Repair procedures
Inspection Power Seat Motor 1. Disconnect the connectors for each motor. A : Slide motor B : Front height motor C : Rear height motor D : Lumbar support motor (Horizontal) E : Lumbar support motor (Vertical) ...
Power Seat Control Switch. Repair
procedures
Inspection Power Seat Control Switch 1. With the power seat switch in each position, make sure that continuity exists between the terminals below. If continuity is not as specified, replace the power seat ...
See also:
Rear Driveshaft. Components and Components Location
Components 1. Tone wheel 2. BJ joint 3. BJ boot 4. BJ boot big part band 5. BJ boot small part band 6. Shaft 7. TJ boot small part band 8. TJ boot big part band 9. TJ boot 10. Snap ring 11. Circlip 12. ...
Rear Door Side Weatherstrip. Repair procedures
Replacement 1. Loosen the rear door checker (B) mounting bolt. Tightening torque : 19.6 ~ 29.4 N.m (2.0 ~ 3.0 kgf.m,14.5 ~ 21.7 lb-ft) 2. Detach the clips, then remove the rear door side weatherstrip (A). ...
Seat belt - Driver's 3-point system with emergency locking retractor
To fasten your seat belt: To fasten your seat belt, pull it out of the retractor and insert the metal tab (1) into the buckle (2). There will be an audible "click" when the tab locks into the ...
