Hyundai Santa Fe: Front Strut Assembly. Repair procedures
Removal
| 1. |
Remove the front wheel and tire (A) from front hub .
|
| 2. |
Remove the brake hose (A) & wheel speed sensor (B) from the front
strut assembly by loosening mounting bolts.
|
| 3. |
Disconnect the stabilizer link(B) with the front strut assembly(A)
after loosening the nut.
|
| 4. |
Disconnect the front strut assembly(A) with the knuckle by loosening
the bolt & nut.
|
| 5. |
Remove the fender apron upper cover (A).
[LH]
[RH]
|
| 6. |
Remove the mounting retainer (A) located at the end of the cowl
top cover and the service cover (B).
[LH]
[RH]
|
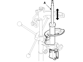
| 7. |
Slightly pull the cowl top cover to your side to make a gap and
loosen the strut mounting nuts (A-3ea).
|
| 8. |
Remove the strut assembly (B).
[LH]
[RH]
|
| 9. |
Install in the reverse order of removal.
|
| 10. |
Check the front alignment.
|
Disassembly
| 1. |
Remove the dust cover(A).
|
| 2. |
Using the special tool (09546-26000), compress the coil spring
(A).
|
| 3. |
Remove the self-locking nut (C) from the strut assembly(B).
|
| 4. |
Remove the insulator, spring seat, coil spring and dust cover
from the strut assembly.
|
Inspection
| 1. |
Check the strut insulator for wear or damage.
|
| 2. |
Check rubber parts for damage or deterioration.
|
| 3. |
Compress and extend the piston rod (A) and check that there is
no abnormal resistance or unusual sound during operation.
|
| 1. |
Fully extend the piston rod.
|
| 2. |
Drill a hole on the A section to remove gas from the cylinder.
|
Reassembly
| 1. |
Install the spring lower pad (D) so that the protrusions(A) fit
in the holes (C) in the spring lower seat (B).
|
| 2. |
Compress coil spring using special tool (09546-26000). Install
compressed coil spring into shock absorber.
|
| 3. |
After fully extending the piston rod, install the spring upper
seat and insulator assembly.
|
| 4. |
After seating the upper and lower ends of the coil spring (A)
in the upper and lower spring seat grooves (B) correctly, tighten new
self-locking nut temporarily.
|
| 5. |
Remove the special tool (09546-26000).
|
| 6. |
Tighten the self-locking nut to the specified torque.
|
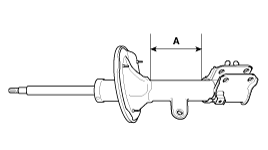
Front Strut Assembly. Components and Components Location
Components 1. Strut assembly 2. Insulator 3. Bearing 4. Spring upper pad 5. Spring 6. Dust cover 7. Spring lower pad ...
Front Lower Arm. Repair procedures
Removal 1. Remove the front wheel and tire (A) from front hub . Tightening torque: 88.2 ~ 107.8 N.m (9.0 ~ 11.0 kgf.m, 65.0 ~ 79.5 lb-ft) Be careful not to damage to the hub bolts when removing the front ...
See also:
Resetting the sunroof
Whenever the vehicle battery is disconnected or discharged, you must reset your sunroof system as follows: 1.Turn the ignition switch to the ON position. 2.Close the sunshade and sunroof completely if ...
Fuel Pressure Control Valve. Description and Operation
Description Fuel Pressure Control Valve is installed on the high pressure fuel pump and controls fuel flow flowing into the injectors in accordance with the ECM signal calculated based on various engine ...
To turn cruise control off, do one of the following
Press the CRUISE button (the CRUISE indicator light in the instrument cluster will go off). Turn the ignition off. Both of these actions cancel cruise control operation. If you want to resume cruise control ...
















